Для распиловки и фрезерования композитных алюминиевых панелей необходимо использовать фрезерное ручное и стационарное оборудование. В случае большого объема работ с композитными панелями, естественно, речь идет о стационарном оборудовании. Это прежде всего пилорамы. К ручному оборудованию относятся дисковые пилы, дисковые фрезеры и просто фрезеры. Главное отличие дисковой пилы от дискового фрезера в том, что у дискового фрезера на одном валу установлены контактный ролик и дисковая фреза. Сменный контактный ролик позволяет точно выдерживать глубину фрезеровки для разных толщин материала. Конечно, у дисковой пилы можно выставить выступание пильного диска и попробовать выполнить фрезеровку, расположив лист на ровной поверхности. В этом случае, все зависит от вашего опыта и навыков.
Листы при обработке надо зажимать при помощи струбцин с прокладками из дерева или полимерных материалов, чтобы не создавать вмятин на поверхности листов.
Для распиловки композитных алюминиевых панелей возможно использование ножовочных и лобзиковых пил. Максимальная скорость резки при распиловке 5000м/мин. Для фрезерования сэндвич-материалов режущий инструмент (фрезы) должен изготавливаться из быстрорежущей стали или твердых сплавов. Максимальная скорость резания фрезой из быстрорежущей стали 3000 об/мин при подаче 25 м/мин, для фрез из твердых сплавов – 5000 об/мин и 30 м/мин (соответственно). Глубина фрезерования определяется толщиной наружных алюминиевых листов. При изготовлении угловых канавок толщина оставляемого слоя материала должна составлять 0,6 мм при толщине алюминия 0,5 мм и 0,4 мм при толщине алюминия 0,3 мм. При изготовлении прямоугольных канавок толщина оставляемого слоя материала должна составлять 1-1,2 мм при толщине алюминия 0,3 мм и 1,3-1,6 мм — при толщине алюминия 0,5 мм.
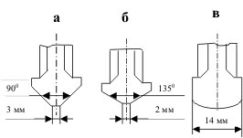
Типы фрез
Для дисковых фрезеров используются циркулярные дисковые фрезы, а для ручных фрезеров — фасонные фрезы. В стандартном исполнении оба типа фрез имеют три варианта режущей кромки в зависимости от фрезеруемой канавки: для фрезерования угловых канавок с углами 90, 135 и прямоугольных канавок.
Внешний вид циркулярной дисковой фрезы и схематическое изображение профиля режущей кромки: а – фреза с углом 90, б — фреза с углом 135, в – фреза для прямоугольной канавки.
Следует обращать внимание на правильный раскрой листов перед распиловкой и фрезерованием. Поскольку во многих случаях заготовки требуется сгибать, то необходимо учитывать толщину материала на сгибах.
Сверление композитных алюминиевых панелей
АКП сверлится обычными спиральными сверлами, предназначенными для сверления металла. Рекомендуемый материал сверла — быстрорежущая сталь. Рекомендуемый угол острия — 100-140 градусов.
Гибка композитных алюминиевых панелей
Композитные алюминиевые сэндвич-панели легко поддаются холодной пластической формовке (сгибанию) общеизвестными способами. Процесс не требует специального оборудования и может проводиться на окантовочных прессах, универсальных гибочных машинах и круглогибочных прокатных машинах. Для избежания повреждения поверхности материала необходимо применять защитную фольгу или прокладочные листы из полиэтилена или пластика толщиной 1-2 мм.
Минимальный радиус изгиба должен быть в 15 раз больше толщины листа. Минимальное расстояние от края листа до места изгиба должно составлять пять толщин материала. Придавать требуемую форму панелям можно с помощью окантовочной фрезеровки, т.е. изгибанием панели после специальной фрезерной обработки. Незначительная толщина материала, остающаяся после фрезеровки позволяет производить точное изгибание материала вручную без дополнительного оборудования.
Преимущества окантовочной фрезеровки:
- простота техники обработки;
- минимальные издержки;
- возможность производства работ прямо на месте;
- большое разнообразие форм;
- высокая производительность.
Крепление композитных алюминиевых панелей
Панели АКП могут крепиться при помощи заклепок, винтов, болтов, склеивания и сварки. В любом случае, при закреплении панелей необходимо обеспечить условия отсутствия электролитической коррозии между соединенными поверхностями. Основываясь на вышеуказанном ограничении, используемые материалы можно разделить на два типа.
Рекомендуемые материалы для соединения: алюминий, нержавеющая сталь, пластик, сталь с защитным покрытием (кадмий, цинк).
Не рекомендуемые материалы для соединения: медь, латунь, бронза, сталь без защитного покрытия.
Использование перечисленных нерекомендуемых материалов может послужить причиной проблем, связанных с электролизом, который будет происходить на соединенных поверхностях.
При соединении композитных алюминиевых сэндвич-панелей при помощи заклепок можно устанавливать обычные типы заклепок, используемые при соединении алюминия.
При соединении панелей АКП болтами и винтами, техника крепления различается в зависимости от того, где будет использоваться материал. При производстве работ внутри помещения нет необходимости учитывать линейное термическое расширение материала и можно использовать различные винты для крепления металла и дерева. По технике крепления можно выделить следующие виды:
- крепление винтами с крестообразным шлицом и сферической головкой;
- крепление винтами с потайной головкой в раззенкованное отверстие;
- крепление винтами с потайной головкой совместно с накладкой;
- крепление сфероцилиндрическими винтами с форменной прокладкой.
При креплении винтами с потайной головкой совместно с накладкой необходимо чтобы отверстие в плите было соразмерно больше диаметра винта.
При наружном использовании алюминиевых сэндвич-панелей необходимо учитывать их линейное термическое расширение (коэффициент линейного термического расширения панелей составляет 2,3 мм/м длины при перепаде температуры 100 град.). Поэтому отверстия под винты должны иметь диаметр несколько больший на величину, учитывающую движение композитных панелей в процессе эксплуатации. Для монтажа рекомендуется использовать фасадные винты для металлических конструкций либо саморезы. Для снижения давления винта на поверхность панели и обеспечения их теплового расширения необходимо использовать прокладки из эластичных полимерных материалов. Для закрытия головок можно применять специальные колпачки.
Сварка композитных алюминиевых панелей
Соединение элементов конструкций из алюминиевых сэндвич-панелей можно осуществлять методом сварки горячим воздухом, когда в качестве соединяющего материала используется электродная проволока. В процессе сварки проволока и полимерная сердцевина разогреваются до температуры плавления и образуют прочное соединение. Подготовка материала для сварки состоит в следующем: по краю материала снимается фаска под углом 45 0 . Перед сваркой панели плотно стыкуются краями со снятыми фасками друг к другу.
Сварку необходимо произвести не позднее 24 часов после подготовки листов к сварке, ввиду быстрого оксидирования полимерной основы.
Для сварки необходимо использовать электроды на основе мягкого полиэтилена (тип 1800-h, черного цвета). Непосредственно перед сваркой удалить внешний слой электрода наждачной бумагой и сделать скос под углом 45 0 . Температура плиты при сварке поддерживается равной 260-270 0 С. После проведения сварки и охлаждения материала сварочный наплыв снимается при помощи ножа.
Соединение композитных алюминиевых панелей профилями
Для соединения панелей композитных алюминиевых можно использовать профили. Такой вид соединения удобен для создания модульных выставочных конструкций и др. подобного применения внутри помещений. Варианты конструкции показаны на рисунке ниже.
Дополнительная лакировка алюминиевых панелей композитных
Для лакировки и грунтовки композитных материалов подходят любые окрашивающие системы, применяемые для окраски и лакировки алюминия. Рекомендуется перед началом работ провести технологические пробы на совместимость выбранной окрашивающей системы с взятым композитным материалом.
Стадии рабочего процесса:
- предварительная очистка и обезжиривание поверхности;
- зачистка поверхности мокрой шлифовальной бумагой (зернистостью 360);
- нанесение на поверхность лака (грунта);
- сушка покрытия.
Следует помнить: при ускоренной сушке максимально допустимая температура 70 0С. Не допускается изгибать материал после дополнительной лакировки из-за малой эластичности лакированной поверхности. Прилипание полимерной пленки лакового покрытия к материалу сердцевины отсутствует.
Трафаретная печать на композитных алюминиевых панелях
Композитные сэндвич-панели подходят для трафаретной печати. Для получения качественной печати следует перед печатью обработать материал денатуратом. Ввиду наличия возможных отклонений в структуре поверхности материала в разных партиях перед каждым рабочим процессом рекомендуется провести технологическую пробу на совместимость выбранной для трафаретной печати краски.
Кэширование композитных алюминиевых панелей и фотомонтаж
Композитные материалы легко поддаются кэшированию литой или каландрированной клейкой фольгой. Процесс можно проводить вручную и машинным способом. Смена фольги без снятия лакового слоя не представляет проблем.
Фотомонтаж производится аппликациями на липкой основе либо приклеиванием фотографий влажным способом водно-дисперсионными клеями. Плиты перед нанесением фольги или снимков должны быть сухими и чистыми, без следов пыли и жира.
При обращении с алюминиевыми композитными панелями следует соблюдать рекомендации по хранению и транспортировке алюминиевых композитных панелей.
Композитные панели алюминиевые цена. Скачать прайс алюминиевые композитные панели
